飞机厕所里冲掉东东都去哪了?啧啧~
2015-03-01 23:06:06 来源:青岛新闻网旅游

飞机厕所里冲掉东东都去哪了?啧啧~

2015-03-01 青岛新闻网旅游 青岛新闻网旅游
青岛新闻网旅游 \

qdyoushanwanshui

青岛旅游美食类信息发布

飞机厕所里冲掉的秽物,被储存在飞机上的废水箱中,落地后才会由专用的污水处理车将其转运到合适的地点。谢天谢地,否则每天有几百万人在天上飞来飞去,如果都是“直排”的话……



不过如果你乘坐的是一款60年前的老飞机,比如这架1937年款的英国休泼马林公司Stranraer水上飞机,那真有可能会把屁屁暴露在寒冷的高空气流中。因为它的客舱里就有一个“直排厕所”。


后来为了改善如厕舒适性,航空设计师开始在机舱内布置稍微友好一点的厕所,比如英国惠灵顿轰炸机里布置的那个小厕所,对,就是那个带盖的桶。不过据英军士兵反映,不到万不得已,他们才不会用那玩意儿呢。比起尿到瓶子里,拉到纸盒里,然后开窗丢出去,那个马桶实在是糟透了。


这种做法其实早就被一些航空先驱采用了。1927年美国飞行家林白Charles Lindbergh驾驶圣路易斯精神号单引擎飞机用33.5小时的时间成功飞越大西洋,因此他成为各种名流的座上客。当英王乔治五世接见他的时候,根据会谈记录,国王弯下腰凑近林白问他:“我很好奇,你驾驶飞机的时候是怎么行方便的?”林白回答说:“我的驾驶座前面有个漏斗,漏斗通过一根管子接在一个铝罐上。在着陆之前,我把那个铝罐丢在法国了。”


所以理论上,林白可以一边嘘嘘一边摆酷。而当法国人在巴黎的航空俱乐部外面朝阳台上的林白(左一)欢呼的时候,一定也不知道这个帅小伙往他们头顶倒夜壶来着。


后来到了民航时代,一架飞机动辄坐几十、上百人靠汽油桶和纸盒子肯定完成不了任务。更重要的是,随着喷气时代的来临,民航机越飞越高。高空的低温低氧低压是让人很难忍受的,于是出现了“增压客舱”这个概念。

增压客舱是完全密闭的,能保证里面大约相当于3000米海拔的气压,乘客能舒适得多。而在高空客舱内外就会有不小的压力差。但是这就造成了你没办法轻易开个门往外倒东西,那会让客舱内压力迅速减小。

于是最早的民航抽水马桶,跟我们家用的差不多,或者它的整个结构更像是在鸟巢水立方附近的可移动式厕所。为了清洁马桶和管道,减少堵塞和水垢,马桶水里会添加一些蓝色的清洁剂。下图就是一种专用的航空马桶水添加剂。

这种厕所的毛病很多。比如容易堵、老反味儿。最要命的是要用大量的水,冲一次马桶好几升水,一个航次下来几百升水就被用掉了。而这些水都是飞机的“死重”,那都是白花花的银子啊。要是能少带点儿马桶水,就可以多带点油或者多拉几个客。


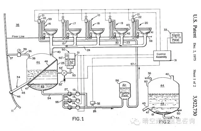
于是,1975年,一个叫James M. Kemper的美国人获得了一项“真空航空马桶”的专利(专利号US3922730 A)。这个设计用一个真空泵在废水箱里制造低压,当按下冲水按钮时,废水管和马桶之间的阀门被打开,马桶里的秽物被吸进废水箱,同时,马桶内壁会用少量水清洁。真空吸力加上马桶和管道内壁的不粘特氟龙涂层让清洁变得很彻底,而且还会吸走抽气,让厕所更清新。这个设计很成功,四十年来飞机上的厕所再没发生革命性的变化。唯一的问题可能是抽吸的时候噪音很大,第一次用飞机厕所的朋友你有没有被吓一跳?



今天我们看到的飞机洗手间大部分都是这样子,在飞机制造厂,它们是模块化的。


一般每个废水罐的容积是200加仑,也就是不到800升。只要不是飞机餐里被混入了霍乱弧菌,想来还是够用的。

一旦飞机落地,机场就会有专门的废水处理车开过来,管道接上飞机的废水口清理废水罐。



国人干活不怕脏、不怕累的精神在这里体现出来了。


当然,根据墨菲定律,什么事儿可能发生就一定会发生。比如深圳机场,一辆机场垃圾回收车撞坏了一架高富帅的公务机。


这架俄罗斯的图-154,落地之后没憋住。


还好,到目前为止还没过飞机空中“失禁”的报道。但是“侧漏”有时候是难免的。如果废水排水口出现了渗漏,在高空低温环境下漏出来的液体会很快结冰。


一旦冰块在气流冲击下破碎脱离飞机,就有可能撞坏飞机本身。上世纪70、80、90年代波音727曾经各发生一起渗漏结冰撞击事件,所幸都没有造成严重损失和人员伤亡。

如果没有砸到飞机,冰块在下落过程中会慢慢融化,但是如果冰块体积实在很大,就有可能落地。从上世纪70年代到现在,媒体报道的天降“蓝冰”(还记得前面的蓝色清洁剂么)事件有30多起。还好,除了砸漏过一个房顶,已经有人好奇舔食造成了肉体轻微精神极大的损害之外,没有更严重的后果了。

  • 为你推荐
  • 公益播报
  • 公益汇
  • 进社区

热点推荐

即时新闻

武汉